一、產品簡介
LXSL-15E~25E、LXSLR-15E~25E、LXSLR-15F~25F系列旋翼多流立式水表,用于小型工業企業用水和家庭用水計量。適用于自下而上的立式管道的安裝,非常節省空間。
二、產品特點
1. 垂直安裝,可做分表;
2. 多流束;
3. 計數器有指針C型、干式、濕式字輪與指針組合顯示的E型及液封式F型等可選;
4. 高靈敏度;
5. 計量等級達到ISO4064 B級或C級(R80/100/125/160)標準;
6. 計數器可以是干式,濕式或液封;
7. 可適用于冷水≤50℃或熱水≤90℃;
8. 水壓≤1MPa或1.6MPa(即10bar或16bar)。
三、 最大允許誤差
?、?低區(Q?≤Q<Q?)最大允許誤差為±5%
?、?高區(Q?≤Q≤Q?)最大允許誤差為±2%(熱水表±3%)

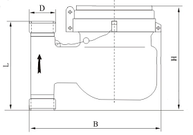
四、外形及規格尺寸

| 型號 | 公稱口徑 DN | 長 L | 寬 B | 高 H | 連接螺紋 D | 重量 kg |
| mm | ||||||
| LXSL-15 | 15 | 144 | 98 | 100 | G?B | 1.6 |
| LXSL-20 | 20 | 152 | 98 | 100 | G1B | 1.8 |
| LXSL-25 | 25 | 164 | 104 | 105 | G1?B | 2.4 |